VFC 24.15 Fixed-Angle Rotor

Product No:C63138

The VFC 24.15 is a fixed-angle rotor for the Allegra V-15R benchtop centrifuge designed to centrifuge up to 24 x 15 mL tubes.
Applications for this rotor include density gradient separations of erythrocytes, cell lysate fractions, granules, as well as differential separation of DNA, proteins, and viruses.

Product Specifications

Platform Allegra
Rotor Type Fixed-Angle
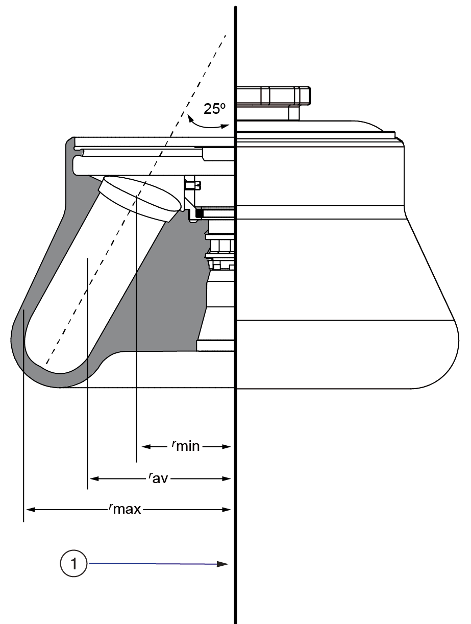
Angle 30° (Outer Row) | 40° (Inner Row)
Maximum RPM 9,000 rpm
Max g-Force 11,431 xg
k-Factor 2,165 (Outer Row), 2,950 (Inner Row)
Number of Tubes 24 x 15 mL
Nominal Capacity 360mL
rMAX 126
rMIN 63
rAV 94.5 mm
BioSafe No
Materials Anodized Aluminum
Package Quantity 1